Not Logged in. Click to Login/Register

Search catalog:
 
Wiki Catalog Map

Still Cameras (839)
Movie Cameras (66)
Lenses & Optics (211)
   Aerial Camera Lenses (1)
   FED (11)
   GOI (1)
   Helios (8)
   Industar (40)
   Jupiter (32)
   MIR (16)
   Mirror Lenses (MTO / Rubinar) (15)
   Movie Camera Lenses (1)
   Non-Russian Communist Lenses (7)
   Orion (4)
   Other Lens (48)
   Tair (12)
   Vega (8)
   VOOMP (1)
   Zenitar (4)
   ZM (0)
   Zorki (2)
Photo Equipment
& Accessories (259)
Movie Equipment and Accessories (16)
History, Documents
& Ephemera (152)
Member Articles & Blogs (59)
Lenses & Optics > Other Lens > Hydrorussar-3
<< Previous entry      Next entry >> Print this entry      View Related Forum Thread - 6 post(s)     Edit this entry    

Hydrorussar-3


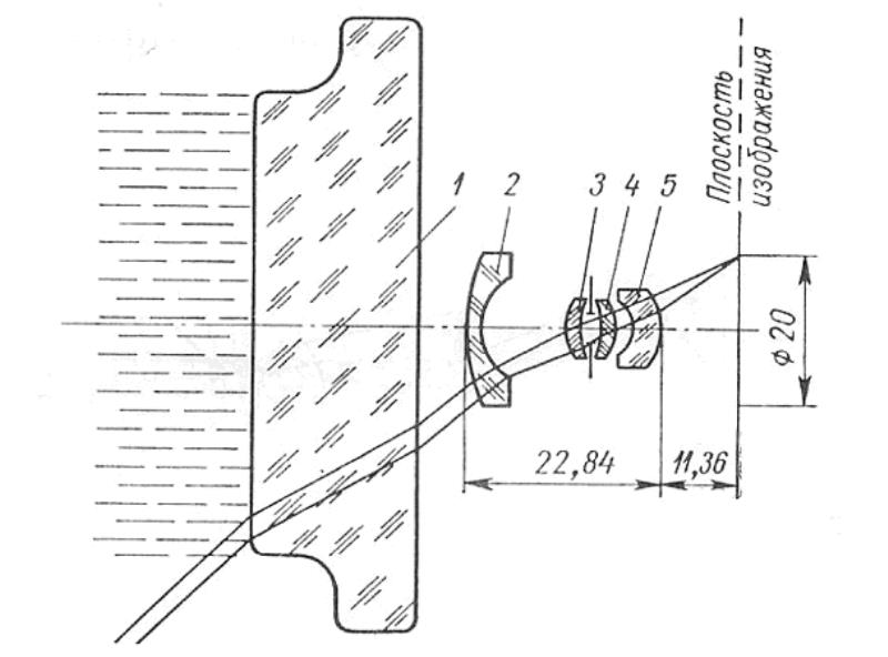
Developed for underwater pictures this lens has 70º underwater field and 120º on the air, a relative aperture 1:10, a focal length of 14,3 mm. Calculated in 1953 by - ЛИТМО (LENINGRAD INSTITUTE OF PRECISION MECHANICSAND OPTICS). " On fig. 67 is shown the scheme of an objective,"Гидроруссар-3". The objective consists of plane-parallel window protective glass 1, the first negative component made as a simple meniscus 2 and the second positive component consisting of two positive meniscuses 3, 4 and a concentric lens 5. By means the meniscuses lenses 3 and 4 there are corrected the astigmatism and coma, and by means of the concentric lenses 5 - the spherical aberration... Residual distortions does not exceed 1,5 % on the edge of the frame, and is noted a chromatism increase of 0,017 mm. Despite of rather simple design, the objective "Гидроруссар-3", possesses high image quality, has small dimensions and is one of the first two-component hydroobjectives " [109, p. 118-119]. " On fig. 10 we see the objective "Гидроруссар-3", mounted in a "Zorki" camera. The focus system is absent in this lens, once depth of field is so great, that allows to make precise photos of objects, since 50 cm to infinity. An external ring controls the diaphragm The external diaphragm ring has engraved (1:4, 1:5,6; 1:8; 1:11) which are really (1:10, 1:16, 1:22, 1:32. 1:44) it is executed with six petals and has a direct tooth with the module of gearing m=1, for external diaphragm control. External diameter of protective glass - 50 mm, and it goes directly in contact with water in special underwater boxes. Source www.photohistory.ru.
(Click to enlarge)


Created by Luiz Paracampo on 10/19/2007 11:27:39 AM   |   Last Edited by Vlad on 10/19/2007 12:40:02 PM   Revision History  
Share
  • Request Entry Removal
  • Request Image Removal

  • Google
     

    Contact us

    Hits: 915244